РЕГТАЙМ10-24 (Энергомаш)

Вес:
100
гр.
Количество:
3 480
руб.
Есть в наличии

Предназначено для коммутации электрических цепей постоянного тока с номинальным напряжением 24В и используется для включения устройств по алгоритму в соответствии с диаграммами (рис.2).
В реле предусмотрены функции выбора единиц отсчета времени (с, мин, ч), выбора режима работы и установки времени работы. Установка режимов и времени осуществляется с помощью кнопки через отверстие в корпусе реле.
Визуальная диагностика работы реле обеспечивается за счет применения в конструкции изделия встроенного светодиода.
Применяется на автомобилях любой марки.

Характеристики
Номинальное напряжение, В 24
Ток коммутации, не более, А 100
Ток потребления, не более, мА 130
Степень защиты IP54
Время работы, T1(T2), с/мин/ч 0-600
Количество циклов T1/T2 (0-600)/∞
Присоединительные резьбовые клеммы М6
Габаритные размеры, мм 77х45х45
Масса, не более, кг 0,12

Описание

ИНСТРУКЦИЯ ПО МОНТАЖУ И ЭКСПЛУАТАЦИИ

1 Настройка

1.1.Извлечь заглушку из отверстия корпуса для доступа к кнопке.
1.2.Подать питание на реле (“85” - минус, “86” - “плюс”). Реле начнёт работать в предварительно заданном режиме.
1.3.Настроить параметры реле с помощью кнопки в соответствии с диаграммой (рис.3).
1.4.Установить заглушку на место.

2 Подключение

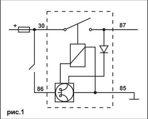
2.1.Подключить реле по схеме (рис.1).
2.2.При подаче питания реле начнёт работать в предварительно заданном режиме в соответствии с диаграммой (рис.2).





Документы

Регтайм10-24(р.1)_инструкция

  • Номинальное напряжение, В
    24
  • Режим работы
    1, 2, 3, 5, Универсально
  • Время работы
    (0-60) с, (60-600) с, (600-6000) с, (0-600) с, (0-600) ч